破損サンバイザーのリフレッシュついでに
新車時から交換されていないサンバイザーは、大抵が経年劣化で外皮が縮んで継ぎ目部分が切れ、中のウレタンが露出したような状態になっています。私の車両も左右共に破損していました。
初期型のグレーで古臭い感じのライニングが好きではなかったため、サンバイザーを交換するにあたり、02R純正の黒いファブリック地のものに交換したいと思っていました。
02Rの部品は統合により製廃となる可能性もあり、毎年部品価格が上昇する一方なので、サンバイザーを交換するついでにライニング全てを02R仕様に交換することにしました。
ルーフライニングが高価なので、なかなか決断しにくいところですが、10年単位でみるとかなり値上がりしたので、早くやっておいてよかったという結果になりました。
ルーフライニングに至っては2014年10月の48,800円に対し、2025年4月は104,800円と56,000円アップで2倍以上の価格になっています。
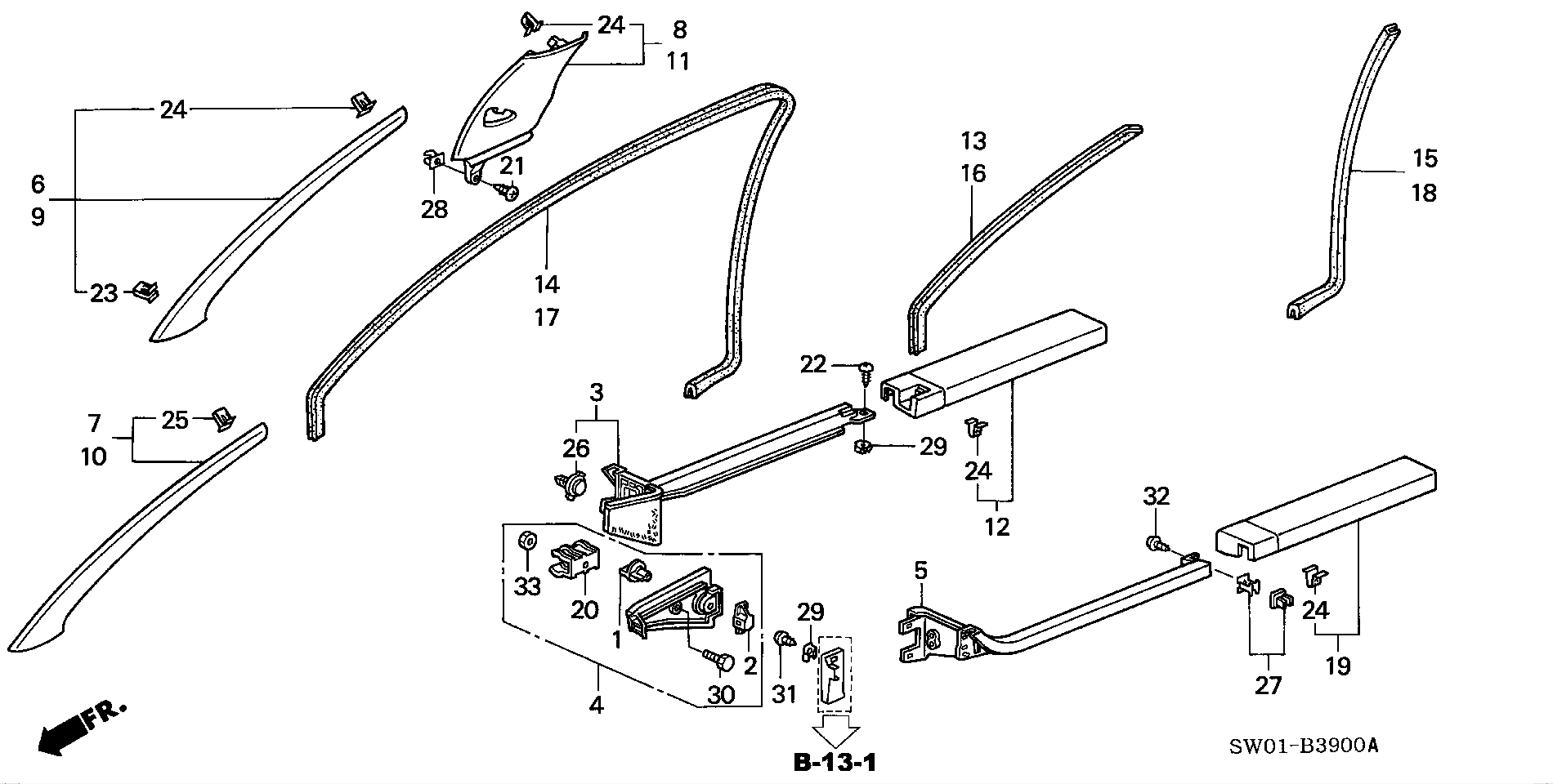
サンバイザーは種類がたくさん
サンバイザーには色々と種類があります。
運転席側はカードホルダーのバンドが閉じた時室内側になって隠れないタイプ(83230-SL0-010ZA)、閉じた時にルーフ側になって隠れるタイプ(83230-SL0-J01ZA)、エアバッグ用警告ラベル付き(83230-SL0-Z10ZA)の3種類があります。
エアバッグ用警告ラベル付きは、NSX及びTypeS用で「83230-SL0-J01ZA」という品番もありますが、NSX-R専用と何が違うのか分かりません。
ステアリングは既に社外品に交換されており、エアバッグはないので、警告ラベルなし、閉じた時にバンドが隠れる83230-SL0-J01ZAを選択しました。
助手席側はエアバッグ警告ラベル付きの2種類(83280-SL0-J01ZAと83280-SL0-Z10ZA)以外に、NSX-R専用のラベルなし無地(83280-SL0-Z00ZA)とTypeS専用のミラー付き(83280-SL0-010ZA)があります。
ミラーなんかいらないのでNSX-R専用のラベルなし(83280-SL0-Z00ZA)を選択しました。

購入当時(2014年10月)の価格
No | 部品番号 | 部品名称 | 単価 | 数量 | 価格 | 備考 |
---|---|---|---|---|---|---|
1 | 83200-SL0-A02ZJ | ライニングASSY.,ルーフ *NH188L* | 48,800 | 1 | ||
2 | 83230-SL0-Z00ZA | サンバイザーASSY.,R. *NH188L* | 11,100 | 1 | ||
3 | 83250-SL0-A11ZA | サンバイザーASSY.,センター *NH188L* | 4,780 | 1 | ||
4 | 83280-SL0-Z00ZA | サンバイザーASSY.,L. *NH188L* | 11,100 | 1 | ||
8 | 93500-050160G | スクリユー,パン 5X16 | 25 | 2 | 2025年04月価格 | |
34250-SL4-003ZL | ライトASSY.,インテリア *NH1L* | 5,300 | 1 | |||
合計金額 |
表示価格はすべて税抜き価格です。
読み込み中...
No | 部品番号 | 部品名称 | 単価 | 数量 | 価格 | 備考 |
---|---|---|---|---|---|---|
1 | 83200-SL0-A02ZJ | ライニングASSY.,ルーフ *NH188L* | 1 | |||
2 | 83230-SL0-010ZA | サンバイザーASSY.,R. *NH188L* | 1 | NSX-R用 バンドが隠れないタイプ 2024年10月販売終了 | ||
2 | 83230-SL0-J01ZA | サンバイザーASSY.,R. *NH188L* | 1 | NSX、TypeS用 エアバッグ用ラベル付き | ||
2 | 83230-SL0-Z00ZA | サンバイザーASSY.,R. *NH188L* | 1 | NSX-R用 バンドが隠れるタイプ | ||
2 | 83230-SL0-Z10ZA | サンバイザーASSY.,R. *NH188L* | 1 | NSX-R用 エアバック用ラベル付き | ||
3 | 83250-SL0-A11ZA | サンバイザーASSY.,センター *NH188 * | 1 | 旧品番83250-SL0-A10ZA | ||
4 | 83280-SL0-010ZA | サンバイザーASSY.,L. *NH188L* | 1 | TypeS用 ミラー付き | ||
4 | 83280-SL0-J01ZA | サンバイザーASSY.,L. *NH188L* | 1 | NSX、TypeS用 エアバッグ用ラベル付き | ||
4 | 83280-SL0-Z00ZA | サンバイザーASSY.,L. *NH188L* | 1 | NSX-R用 | ||
4 | 83280-SL0-Z10ZA | サンバイザーASSY.,L. *NH188L* | 1 | NSX-R用 エアバッグ用ラベル付き | ||
8 | 93500-050160G | スクリユー,パン 5X16 | 2 | |||
34250-SL4-003ZL | ライトASSY.,インテリア *NH1L* | 1 |
表示価格はすべて税込み価格です。
※ 単価が空欄の部品は、調査時点で生産終了または注文不可の部品です。
※ 単価が表示されている部品でも、すでに生産中止となっている場合があります。

購入当時(2014年10月)の価格
No | 部品番号 | 部品名称 | 単価 | 数量 | 価格 | 備考 |
---|---|---|---|---|---|---|
6 | 84101-SL0-A10ZA | ガーニツシユ,R.フロントピラー *NH188L* | 8,100 | 1 | 旧品番:84101-SL0-A03ZH | |
9 | 84151-SL0-A10ZA | ガーニツシユ,L.フロントピラー *NH188L* | 8,100 | 1 | 旧品番:84101-SL0-A03ZH | |
8 | 84131-SL0-A02ZH | ガーニツシユ,R.リヤーピラー *NH188L* | 5,150 | 1 | ||
11 | 84181-SL0-A02ZH | ガーニツシユ,L.リヤーピラー *NH188L* | 5,150 | 1 | ||
合計金額 |
表示価格はすべて税抜き価格です。
読み込み中...
No | 部品番号 | 部品名称 | 単価 | 数量 | 価格 | 備考 |
---|---|---|---|---|---|---|
6 | 84101-SL0-A10ZA | ガーニツシユ,R.フロントピラー *NH188L* | 1 | 旧品番:84101-SL0-A03ZH | ||
9 | 84151-SL0-A10ZA | ガーニツシユ,L.フロントピラー *NH188L* | 1 | 旧品番:84101-SL0-A03ZH | ||
8 | 84131-SL0-A02ZH | ガーニツシユ,R.リヤーピラー *NH188L* | 1 | |||
11 | 84181-SL0-A02ZH | ガーニツシユ,L.リヤーピラー *NH188L* | 1 | |||
合計金額 |
表示価格はすべて税込み価格です。
※ 単価が空欄の部品は、調査時点で生産終了または注文不可の部品です。
※ 単価が表示されている部品でも、すでに生産中止となっている場合があります。
生地がメッシュではない品番 読み込み中...
No | 部品番号 | 部品名称 | 単価 | 数量 | 価格 | 備考 |
---|---|---|---|---|---|---|
6 | 84101-SL0-A02ZH | ガーニツシユ,R.フロントピラー *NH188L* | 1 | 2002 NA1(AT) 2002 NSX NSX-S | ||
9 | 84151-SL0-A02ZH | ガーニツシユ,L.フロントピラー *NH188L* | 1 | 2002 NA1(AT) 2002 NSX NSX-S | ||
8 | 84131-SL0-A01ZH | ガーニツシユ,R.リヤーピラー *NH188L* | 1 | 2002 NA1(AT) 2002 NSX NSX-S | ||
11 | 84181-SL0-A01ZH | ガーニツシユ,L.リヤーピラー *NH188L* | 1 | 2002 NA1(AT) 2002 NSX NSX-S | ||
合計金額 |
表示価格はすべて税込み価格です。
※ 単価が空欄の部品は、調査時点で生産終了または注文不可の部品です。
※ 単価が表示されている部品でも、すでに生産中止となっている場合があります。
ブラック調に統一されて良い感じ
- 運転席側サンバイザーの警告ラベルも無いため、非常にスッキリした印象になります。
前期型NSXの触媒には触媒温度センサーが付いており、サンバイザーにはその警告ラベルが貼られていました。
現在は、インジェクション車両に対する熱害検査が廃止されているため、旧車であっても排気温度警告や警告ラベルが無くても問題ありません。
また、インテリアライトASSYについても、前期型は樹脂部分がグレーで内装のブラック調と合わなかったため、樹脂部分が黒い後期型(34250-SL4-003ZL)に交換しています。
ちなみに触媒温度センサー自体は代わりにブラインドボルトをねじ込んでおけば取り外しても車検はOKです。 また、NSXの排気温度センサーはエンジン制御には影響を与えていないので取り外してしまっても問題は起きません(私も取り外しています)。

02R用 黒ファブリック地の内装

02R用 運転席側サンバイザーの裏側
- 装着したのは02R用のサンバイザーの中で、裏側(閉じた時のルーフ側)にカードホルダー用のバンドが付いているタイプ(83230-SL0-Z00ZA)です。
表側(閉じた時の室内側)にカードホルダー用のバンドが付いているタイプ(83230-SL0-010ZA)も存在しましたが、現在は生産が終了しているため、警告ラベルなしはこの1種類しか存在しなくなりました。
助手席側はNSX-R専用のラベルなし(83280-SL0-Z00ZA)を装着。タイプS用はミラーがついたタイプ(83280-SL0-010ZA)が存在します。
バイザーの付け根を固定ボルトは、1本のみがバイザーに付属してます。 ボルトのサイズは前期型と同じであるものの、私のNSXではもともとついていたボルトの色がシルバーだったので、後期型対応部品番号の「93500-050160G」を追加購入しました。

シートベルトのガイド部は前期型のまま
-
リヤピラーガーニッシュのシートベルト穴に付くガイド部分はシートベルト一体型でシートベルトから外せません。
前期型シートベルトだとガイドも前期型内装色のグレーになるので不格好ですが、ガイド単品の販売はしていないし、シートベルトを後期用の新品に交換するのもコスト的に厳しかったので、 この時は見送りましたが、いつのまにかシートベルトが注文停止部品になっていたので、結局購入できずに終わってしまいました。
部品番号 | 部品名称 | 備考 |
---|---|---|
81450-SL0-J22ZB | タング,R.シートベルトアウター *NH1L* | 2002/2004 NSX-R、2004 TypeS |
81850-SL0-J22ZB | タング,L.シートベルトアウター *NH1L* | 2002/2004 NSX-R、2004 TypeS |
81450-SL0-J22ZD | タング,R.シートベルトアウター *NH188L* | 2002 TypeS |
81850-SL0-J22ZD | タング,L.シートベルトアウター *NH188L* | 2002 TypeS |
02R用をチョイス
サイドガーニッシュの樹脂部分が経年劣化による硬化で割れてきたので新品交換を検討。 特に乗降時に手をかける運転席側は内部が粉々に割れていました。 クーペ用は艶が有り過ぎて嫌だったので、艶が少ないNSX-R用を購入しました。
交換当時はクーペ、タイプS、02Rの3種類が存在したのですが、クーペ用はタイプS用に統合、02R用は2023年12月に製造終了となっており、現在は元タイプS用の統合品番しか購入できません。
たまたま選んだのがNSX-R用でしたが、生産終了の貴重品になっていると思うと、乗降時にあまり手をかけたくない気分になります。
購入当時(2016年08月)の価格
No | 部品番号 | 部品名称 | 単価 | 数量 | 価格 | 備考 |
---|---|---|---|---|---|---|
12 | 84201-SL0-Z00ZA | ガーニツシユ,R.サイド *NH1L* | 6,150 | 1 | 02R用(2023年12月製造終了) | |
19 | 84251-SL0-Z00ZA | ガーニツシユ,L.サイド *NH1L* | 6,150 | 1 | 02R用(2023年12月製造終了) | |
12 | 84201-SL0-010ZC | ガーニツシユ,R.サイド *NH1L* | 6,150 | 1 | タイプS用 2025年04月価格:9,500円 | |
19 | 84251-SL0-010ZC | ガーニツシユ,L.サイド *NH1L* | 6,150 | 1 | タイプS用 2025年04月価格:9,500円 | |
12 | 84201-SL0-000ZC | ガーニツシユ,R.サイド *NH1L* | 6,150 | 1 | クーペ用(84201-SL0-010ZC統合) | |
19 | 84251-SL0-000ZC | ガーニツシユ,L.サイド *NH1L* | 6,150 | 1 | クーペ用(84251-SL0-010ZC統合) |
表示価格はすべて税抜き価格です。
読み込み中...
No | 部品番号 | 部品名称 | 単価 | 数量 | 価格 | 備考 |
---|---|---|---|---|---|---|
12 | 84201-SL0-010ZC | ガーニツシユ,R.サイド *NH1L* | 1 | |||
19 | 84251-SL0-010ZC | ガーニツシユ,L.サイド *NH1L* | 1 |
表示価格はすべて税込み価格です。
※ 単価が空欄の部品は、調査時点で生産終了または注文不可の部品です。
※ 単価が表示されている部品でも、すでに生産中止となっている場合があります。

02R用と前期型のサイドガーニッシュ比較
- 写真の上が今回購入した02R用で、下がもともとついていたクーペ用のサイドガーニッシュ。
02R用の方が艶消し生地でかっこいいです。

02R用のサイドガーニッシュに交換完了
- 装着完了後。全く違和感はありません。
知らないうちに製造終了して希少パーツになっていました。現在は購入できないので大切に使用します。